Для цитирования:
Чернышов М.С. Проблемы правовой охраны алгоритмов // Журнал Суда по интеллектуальным правам. 2024. Сентябрь. N 3 (45). С. 151-169.
DOI: 10.58741/23134852_2024_3_15
For citation:
Chernyshov M.S. Problems of legal protection of algorithms // Zhurnal Suda po intellektual'nym pravam. 2024. September. N 3 (45). Pp. 151-169. (In Russ.).
DOI: 10.58741/23134852_2024_3_15
Введение
Возникновение термина «алгоритм» связывают с именем персидского ученого Мухаммеда аль-Хорезми, жившего в первой половине IX в. Его книга о правилах сложения многоразрядных чисел была переведена на латинский язык под заголовком «Algoritmi de numero Indorum» («Индийское искусство счёта, сочинение Аль-Хорезми»)2. Алгоритм можно определить как последовательность инструкций или шагов, которые необходимо выполнить для решения задачи или достижения определенной цели. В нормативной документации Российской Федерации алгоритмом названо предписание о выполнении в соответствующем порядке деятельности человека, необходимой для достижения определенной цели3. Некоторые ученые отмечают, что сущность алгоритма заключается только лишь в знаковой форме и характеризуется понятиями, отвлеченными от вещественной формы его реализации4.
На продумывание и составление алгоритма может быть потрачено значительное количество интеллектуальных человеческих усилий, времени и других ресурсов. По этой причине создатели алгоритмов заинтересованы в том, чтобы иметь какое-либо правовое преимущество в отношении их идеи перед остальными конкурентами, чтобы оправдать собственные инвестиции в разработку алгоритма. Это предопределяет наличие социально-экономической потребности у участников рынка в существовании способов охраны алгоритмов от их неправомерного использования третьими лицами.
В работе анализируется три основных устоявшихся способа защиты алгоритмов: авторским правом, патентным правом и охраной в качестве секретов производства. Цель настоящего исследования – изучить российский и иностранный опыт в этой области на примере защиты компьютерных алгоритмов и бизнес-алгоритмов (бизнес-методов), обозначить проблемные аспекты и определить, какой из способов охраны в каких случаях будет наиболее эффективным.
1. Алгоритм как объект права
Следует определиться с тем, в качестве какого объекта права можно квалифицировать алгоритм. В статье 1225 Гражданского кодекса Российской Федерации (далее – ГК РФ) алгоритмы не перечисляются в качестве самостоятельного охраняемого результата интеллектуальной деятельности. Также в п. 5 ст. 1259 ГК РФ установлено, что авторские права не распространяются на идеи, концепции, принципы, методы, процессы, системы, способы, решения технических, организационных или иных задач, открытия, факты, языки программирования, геологическую информацию о недрах. Тем не менее в соответствии со сложившейся в России и мире правоприменительной практикой алгоритмы могут охраняться следующим образом.
1. Как объекты авторского права. С помощью этого способа можно защищать объективно выраженную форму алгоритма (текст, иллюстрации и т.д).
2. Как объекты патентного права. Так, на официальном сайте Федерального института промышленной собственности указывается, что в отношении идеи правовая охрана может быть предоставлена, если она будет выражена в виде технического решения или решения внешнего вида изделия, которые соответствуют установленным условиям патентоспособности5.
3. Как секрет производства (ноу-хау). В соответствии ГК РФ секретом производства признаются сведения любого характера о результатах интеллектуальной деятельности в научно-технической сфере и о способах осуществления профессиональной деятельности, имеющие действительную или потенциальную коммерческую ценность вследствие их неизвестности третьим лицам.
По мнению автора настоящей работы, способы ведения бизнеса (бизнес-алгоритмы) и логику функционирования компьютерной программы следует относить к разновидностям алгоритмов, потому что оба этих явления представляют собой определенную последовательность действий, которую необходимо соблюдать для достижения конкретного результата. Также следует отметить, что в отношении именно этих видов алгоритмов сложилась обширная практика их защиты, исследование которой поможет достаточно глубоко изучить проблему.
2. Авторско-правовая охрана алгоритмов
Как уже отмечалось, с помощью авторского права можно охранять не сам алгоритм как идею, а только его конкретное объективированное выражение в виде программного кода, текста, изображения т. д. Например, если компьютерная программа защищается авторским правом, то предметом охраны будет записанный исходный код, а не логика функционирования, которую этот код выражает. Вследствие этого на основе одного алгоритма может быть написано множество программ с различающимся исходным кодом, но основанных на одной и той же логике (идее) решения задачи6. В результате разными разработчиками создаётся множество аналогичных программ, конкурирующих друг с другом на рынке7. При этом заимствование алгоритма компьютерной программы, защищенной авторским правом, не будет являться нарушением: как указывает Суд по интеллектуальным правам, сходство или совпадение целей и функций одной программы для ЭВМ с целями и функциями другой программы не может само по себе служить основанием для выводов об использовании одного объекта в другом8.
Даже если программное обеспечение является проприетарным, и его исходный код не публикуется в открытом доступе, всё равно существует вероятность того, что лежащий в основе логики функционирования программы алгоритм может быть раскрыт и позаимствован. Здесь речь идет о реверс-инжиниринге, в результате которого может быть частично воссоздан исходный код, по результатам изучения которого раскроются алгоритмы, которым подчинена внутренняя логика функционирования программы.
В отношении охраны бизнес-методов существуют те же проблемы: защищать их как логическую последовательность действий от использования конкурирующими субъектами в своей хозяйственной деятельности с помощью авторского права также невозможно.
На основании изложенного следует заключить, что средства авторского права нельзя считать пригодным инструментом для осуществления полноценной охраны алгоритмов, так как один и тот же алгоритм допускает различные, независимые одна от другой формы выражения его сущности, и поэтому его заимствование по содержанию может быть вполне самостоятельным по форме представления9.
Однако неоспоримым преимуществом авторско-правовой охраны является то, что она возникает незамедлительно. Так, авторское право на произведение возникает моментально в силу одного только факта создания объекта, отвечающего условиям охраноспособности: являющегося результатом творческого труда автора и выраженного в объективной форме10.
Таким образом, авторское право будет охранять конкретный код или текст, но не идею, которую они выражают.
3. Патентно-правовая охрана алгоритмов
Чтобы защитить логическое (сущностное) содержание алгоритма, следует прибегнуть к его охране в качестве объекта патентного права. Далее будут рассмотрены проблемы патентования способов ведения бизнеса и компьютерных алгоритмов, с которыми столкнулись американский11 и российский правопорядки.
3.1. Патентование бизнес-методов в США
Вопрос о возможности предоставления правовой охраны методам ведения бизнеса («business methods») неоднократно поднимался в США. Действующий раздел 101 Закона США о патентах от 19 июля 1952 г.12 указывает на критерии патентоспособности изобретения, в соответствии с которыми содержание формулы изобретения обязательно должно соответствовать одной из четырех категорий патентоспособных объектов: способу (другими словами, методу или процессу), устройству, производству или составу вещества. Бизнес-методы имеют историю патентования в США в качестве способов, отсчет которой следует вести с 1998 г.
Изначально запрет на патентование абстрактных явлений как таковых был высказан Верховным Судом США (далее – ВС США) ещё в 1852 г. в деле Le Roy v. Tatham, в котором орган указал, что абстрактный принцип не является патентоспособным, потому что принцип в абстрактном виде – это фундаментальная истина, первоначальная основа, основание13. Одним из ранних судебных решений, указывающим на принципиальную невозможность патентования конкретно бизнес-методов, является решение Апелляционного суда второго округа США 1908 г. по делу Hotel Security Checking Co. v. Lorraine Co.14, в котором суд постановил, что система бухгалтерского учета для предотвращения хищений со стороны официантов не может получить правовую охрану в качестве изобретения15. Орган отметил: «Ни одна абстрактная идея, какой бы блестящей она ни была, не может быть предметом патента независимо от средств, предназначенных для ее реализации».
Радикально противоположная позиция была высказана впоследствии в решении Апелляционного суда США по федеральному округу в деле State Street Bank & Trust Co. v. Signature Financial Group 1998 г.16, которым было установлено, что охрану в качестве изобретения может получить метод ведения бизнеса, если он дает полезный, конкретный и осязаемый результат17. Изобретение, о котором шла речь в деле State Street, представляло собой способ отслеживания информации, связанный с инвестированием18. Суд указал: «С момента принятия Закона США о патентах 1952 г. на способы ведения бизнеса распространялись и должны были распространяться те же правовые требования к патентоспособности, что и на любой другой способ или метод». Таким образом, в силу прецедентного характера решений судов в США было создано совершенно новое нормативное правило в отношении патентоспособности бизнес-методов.
После этого прецедента в США началось массовое патентование бизнес-методов. Решение по делу State Street активно критиковалось: по мнению некоторых специалистов, в результате этого прецедента произошел взрывной рост регистрации самых разных изобретений, в том числе таких, целесообразность существования которых сомнительна (таких как способ качания на качелях19 или способ игры с кошкой20 с использованием лазерной указки). Отмечается, что этой причине эксперты Ведомства по патентам и товарным знакам США постоянно были перегружены, вследствие чего сильно увеличился средний срок рассмотрения патентных заявок21.
Такое ничем не ограниченное патентование методов ведения бизнеса продолжалось до 2010 г., пока ВС США не принял решение по делу Bilski v. Kappos, в котором была затронута проблема патентования методов ведения бизнеса в компьютеризированной форме. В соответствии с материалами дела истец Бернард Бильски подал патентную заявку в отношении методов хеджирования рисков при торговле сырьевыми товарами в Ведомство по патентам и товарным знакам США. Ведомство отклонило заявку со ссылкой на то, что охрана испрашивалась в отношении абстрактной идеи, которая не может охраняться по правилам ст. 101 Закона США о патентах. ВС США согласился с тем, что Бильски стремился запатентовать абстрактную идею саму по себе (что невозможно в силу закона)22. Также орган отметил, что ранее применяемый в судебной практике тест «устройство-или-трансформация»23 отныне не является единственным критерием, который определяет патентоспособность различных объектов, связанных с абстрактными идеями. Решение по делу Bilski много критиковалось по причине того, что ВС США так и не провел четкие границы между патентоспособными и непатентоспособными объектами, а только усилил состояние неопределенности24.
Чтобы вернуть правовую определенность в сферу патентного законодательства, Ведомство по патентам и товарным знакам США впоследствии опубликовало Временное Руководство для определения патентопригодности (соответствия закону) формулы изобретения на способ, в котором было предписано рассматривать заявку в целом, а не только формулу изобретения. В Руководстве были приведены следующие примеры непатентоспособных объектов: основополагающие экономические методы (хеджирование, маркетинг); идеи обучения (запоминание, повторение); указание того, «как следует осуществлять бизнес» (бизнес-методы)25. После этого резко выросло число отказов в предоставлении патентов на бизнес-идеи.
Темпы патентования бизнес-методов замедлились ещё сильнее в 2014 г., когда ВС США вынес решение по делу Alice Corp. v. CLS Bank International26. Этот прецедент активно применяется в США до сих пор. Согласно материалам дела, компания Alice Copr. (истец), являвшаяся патентообладателем в отношении способов подсчёта финансовых рисков, реализуемых с помощью компьютерной системы27, утверждала, что CLS Bank незаконно использует в своей хозяйственной деятельности аналогичную технологию, чем нарушает ее права как патентообладателя. Суд отказал в удовлетворении требований истца, а также признал патенты, принадлежащие Alice Corp., недействительными по причине того, что они представляют собой абстрактную идею посреднических экономических расчетов путем выполнения обычных компьютерных функций. ВС США отметил, что упоминание о том, что такой бизнес-метод реализуется на компьютере, не дает оснований квалифицировать его в качестве патентоспособного. В тексте решения указывалось, что недопустимо предоставлять патентную охрану «строительным блокам человеческой изобретательности». Суд указал в решении, что запатентованный Alice способ подсчета финансовых рисков является абстрактной идеей, потому что он представляет собой фундаментальную экономическую практику. Судьи ВС США предположили, что формула изобретения с большей вероятностью соответствовала бы требованиям патентной приемлемости, если бы она была направлена на улучшение функционирования самой компьютерной технологии (то есть на материальное воздействие на сам компьютер).
Тем не менее в решении Alice судьи дополнительно отметили, что изобретение не становится непригодным для патентования только в силу того, что оно связано с абстрактной концепцией (потому что прямо или косвенно на абстрактные принципы и идеи опирается почти любое созданное изобретение). Было указано следующее: «Следует проводить различие между патентными заявками, в которых заявлены "строительные блоки человеческой изобретательности", и теми заявками, которые объединяют эти блоки в нечто большее. В первом случае возникает риск непропорционального ограничения свободного использования идей, лежащих в их основе, а во втором случае такой риск отсутствует, вследствие чего в соответствии с законом такие изобретения уже могут получить патентную охрану».
Таким образом, американская судебная практика уже больше ста лет исследует вопрос о патентоспособности методов ведения бизнеса. Ключевые проблемы, с которыми сталкивается судебная практика, заключаются в неоднозначном истолковании того, могут ли бизнес-методы относиться к такой разновидности изобретений, как способ, а также в том, какой характер должен носить достигаемый с помощью способа результат (материальный или утилитарный) для признания его патентоспособным. Суды пытаются удержать баланс между полным запретом и чрезмерной свободой в патентовании бизнес-методов, так как с экономической точки зрения важно дать хозяйствующим субъектам дополнительный стимул к инвестированию ресурсов в исследование бизнес-стратегий, не позволив при этом отдельным организациям присваивать права на фундаментальные идеи.
3.2. Патентование способов ведения бизнеса в Российской Федерации
Проблема патентования бизнес-методов актуальна и для российского правопорядка. Как указывается в п. 1 ст. 1350 ГК РФ, в качестве изобретения охраняется техническое решение в любой области, относящееся к продукту или способу, в том числе к применению продукта или способа по определенному назначению. В соответствии с подп. 4 п. 5 ст. 1350 ГК РФ не могут охраняться в качестве изобретений правила и методы игр, интеллектуальной или хозяйственной деятельности. Очевидно, что российский законодатель стремится ограничить патентование абстрактных идей.
Тем не менее правоприменительная практика складывается противоречивым образом. Так, по мнению У.С. Цилюрик, предоставление патентно-правовой охраны бизнес-методам в России в качестве способов является явно ошибочным, противоречит действующему закону (так как бизнес-методы не являются техническими решениями по своей сути) и создает препятствия для свободного доступа граждан к знаниям и опыту, имеющим значение для развития благосостояния всего общества28. Специалистом отмечается неоднозначная практика Федеральной службы по интеллектуальной собственности (далее – Роспатент) в части патентования способов обучения (которые тоже по своей сущности являются алгоритмом – то есть определенной последовательностью действий). Так, с одной стороны, было отказано в предоставлении защиты «способу обучения геометрической стрижке волос» по причине того, что заявленное предложение обеспечивает достижение результата, который не носит технического характера, так как не является характеристикой технического эффекта, явления, свойства, а достигается лишь благодаря соблюдению определенного порядка при осуществлении обучения на основе договоренности между обучающим и обучаемым; следовательно, заявленное решение относится к правилам и методам и методам интеллектуальной деятельности, и в силу подп. 4 п. 5 ст. 1350 ГК РФ ему не может быть предоставлена правовая охрана29. С другой стороны, ведомство выдало патент на «способ обучения плаванию»30.
Аналогичная ситуация с неоднозначной практикой Роспатента прослеживается и в отношении оценки патентоспособности решений, отвечающих признакам правил и методов хозяйственной деятельности (подп. 4 п. 5 ст. 1350 ГК РФ). Так, с одной стороны, существуют случаи предоставления патентной охраны в качестве изобретения «способу оценки финансовых рисков» (технический результат заявлен как снижение уровня рисков при управлении пассивами и активами, повышении эффективности инвестиционной деятельности)31, «способу рекламирования» (технический результат сформулирован как снижение уровня рисков при управлении пассивами и активами, повышении эффективности инвестиционной деятельности)32 и т.д. С другой стороны, было отказано в охране «способа определения коллективных скидок», потому что патентное ведомство не посчитало техническим результат, заключающийся в увеличении круга лиц, получающих информацию о товарах и скидках на товары33.
У.С. Цилюрик заключает, что такая противоречивая практика Роспатента свидетельствует о нецелесообразной трате времени и денежных средств заявителями, возлагающими надежды на успешное патентование своего бизнес-решения, и государством, ошибочно предоставляющим правовую охрану непатентоспособным в силу закона решениям. Это утверждение неоспоримо.
Таким образом, сложившаяся в России практика патентования бизнес-методов (и наряду с ними способов обучения) является противоречивой, что представляет угрозу для принципов правовой определенности и формального равенства34. Ключевой проблемой в вопросе патентования способов ведения бизнеса в России является выявление единого мнения о том, что является и что не является техническим результатом такого способа. Однозначный ответ на этот вопрос в практике до сих пор не сформулирован.
Ориентиром для Роспатента может выступить ранее процитированная мысль судей ВС США о том, что патентование «строительных блоков человеческой изобретательности» является недопустимым. По мнению автора, если в патентной заявке на способ не указывается конкретный материальный (а не утилитарный) результат, то такое решение не может охраняться патентом, иначе существует риск неоправданного ограничения свободы обмена знаниями и идеями.
3.3. Патентование компьютерных алгоритмов в США
Практика патентования компьютерных алгоритмов в США имеет длительную историю. Изначально в 1972 г. ВС США постановил, что алгоритм, преобразующий десятичные числа в двоичном коде в эквивалентные двоичные числа на компьютере, не подлежит охране в качестве изобретения35. Шесть лет спустя Суд подтвердил этот вывод, указав, что математический алгоритм расчета диапазонов температуры и давления для выполнения химического процесса также не может охраняться как изобретение (способ)36. Специалисты отмечают, что в течение 1970-х гг. в правоприменительной практике органов США действовала доктрина мысленного шага (Mental Step Doctrine), которая сводилась к тому, что компьютерные программы сами по себе не могут выступать объектами патентного права, так как они являются не более чем умозрительными цепочками действий (идеями). Это объяснялось тем, что любые программы представляют собой последовательность вычислительных операций, которые гипотетически могут быть произведены человеческим умом «с карандашом и бумагой» без использования компьютера37.
Однако сложившееся положение дел начало меняться после решения ВС США по делу Diamond v. Diehr в 1981 г.38, в котором было отмечено, что контроль над выполнением какого-либо физического процесса посредством запуска компьютерной программы не должен исключать патентоспособность такого изобретения в целом. Формула изобретения, о которой шла речь в этом деле, включала в себя способ, в котором с помощью компьютерного алгоритма происходило управление процессом затвердения синтетического каучука в соответствии с математическим уравнением39. При этом, как отметил ВС США, для получения патента формула изобретения должна составляться таким образом, чтобы в ней был указан патентоспособный в соответствии с действующим американским законодательством объект, например, усовершенствованный технический способ, а не просто улучшенный метод вычисления, относящийся к непатентуемым абстрактным идеям40.
Уже упоминавшийся прецедент Апелляционного суда США по федеральному округу по делу State Street Bank в 1998 г. ознаменовал радикальный отказ от Mental Step Doctrine и создание нового правила: теперь программы, преобразующие данные, могли быть запатентованы даже в том случае, если в процессе их функционирования не происходит никакого физического воздействия над объектами материального мира. Теперь достаточно было доказать, что компьютерный алгоритм приносит полезный результат. После этого в США начался всплеск патентной активности в сфере программного обеспечения (software).
Как и в случае с бизнес-методами, такое чрезвычайно свободное патентование компьютерных алгоритмов продолжалось до 2010 г., пока не было вынесено решение ВС США по делу Bilski v. Kappos, после которого в американском праве стал использоваться следующий трехступенчатый тест для определения патентоспособности изобретений (включая те, что используют программы). Во-первых, сначала определяется, можно ли отнести заявленный объект под одну из четырех патентоспособных категорий из Раздела 101 Закона о патентах США41. Во-вторых, изобретение должно иметь практическую применимость (полезный характер). В-третьих, изобретение должно пройти ранее упомянутый machine-or-transformation test, заключающийся в непосредственной связи способа с устройством либо в преобразовании с помощью способа объектов материального мира42.
В 2014 г. в решении по делу Alice Corp. v. CLS Bank году было дополнительно уточнено, что одно лишь включение в патентную формулу указания на то, что полезный результат достигается с использованием компьютера, не может сделать абстрактную идею патентоспособным объектом. Теперь, чтобы компьютерный алгоритм мог быть запатентован, он должен дополнительно соответствовать ещё и одному из следующих критериев:
1) алгоритм может быть реализован только с помощью какой-либо специальной технологии,
2) алгоритм улучшает другую технологию на материальном уровне,
3) алгоритм совершенствует материальные функции самого компьютера43.
После решения по делу Alice Corp. темпы патентования программного обеспечения в США существенно замедлились44. В течение последующих двух лет американскими судами было вынесено 400 решений со ссылкой на решение по делу Alice Corp., в которых подтверждалась правомерность отказов Ведомства по патентам и товарным знакам США в предоставлении патентной охраны компьютерным алгоритмам. Специалисты также отмечают, что после этого прецедента сложилась серьезная неопределенность в отношении того, какие именно компьютерные алгоритмы могут быть запатентованы45.
Таким образом, в американской системе права суды пытаются выявить критерии патентоспособности компьютерного алгоритма, главным образом толкуя содержание категории абстрактных идей. В последние десятилетия, чтобы сдержать темпы патентования программного обеспечения, суды увязывают патентоспособность компьютерного алгоритма с его непосредственным влиянием на объекты материального мира (компьютер или иные объекты) и наличием полезного результата.
3.4. История развития вопроса о возможности патентования компьютерных алгоритмов в СССР и Российской Федерации
Для отечественного правопорядка проблема патентования программного обеспечения не является новой. Так, вопрос о возможности патентования компьютерных алгоритмов в качестве изобретений начал активно обсуждаться ещё в СССР в 1970-80-е гг. в связи с активным развитием ЭВМ. Изначально в тексте Положения об открытиях, изобретениях и рационализаторских предложениях от 21 августа 1973 г. № 584, утвержденного Советом министров СССР, не содержалось никакого специального регулирования ЭВМ или алгоритмов. В пункте 21 Положения изобретение определялось как «новое и обладающее существенными отличиями техническое решение задачи в любой области народного хозяйства, социально-культурного строительства или обороны страны, дающее положительный эффект46». И.Э. Мамиофа, советский эксперт в области изобретательского права, пришел к выводу, что новый компьютерный алгоритм может быть сформулирован как предмет изобретения по правилам изложения формулы на способ, а также что в отношении алгоритмов возможно проводить экспертизу на предмет выявления их существенной новизны. На этом основании автор высказывал гипотезу, что алгоритмы как частный вид способа могут получать непосредственную охрану авторским свидетельством (документом, устанавливающим право на изобретение)47. По его мнению, из Положения 1973 г. нельзя вывести однозначный запрет на признание изобретением нового алгоритма как технического способа обработки информации на ЭВМ, если он имеет существенные отличия от известных алгоритмов и дает положительный эффект.
Тем не менее, в дальнейшем сложившаяся нормотворческая и правоприменительная практика Государственного комитета Совета Министров СССР по делам изобретений и открытий пошла по пути исключения алгоритмов из круга охраняемых изобретений, вследствие чего Всесоюзный научно-исследовательский институт государственной патентной экспертизы отказывал в приеме подобных заявок48. Впервые нормы о защите изобретений, относящихся к вычислительной технике, были включены в Разъяснение Государственного Комитета Совета Министров СССР по делам изобретений и открытий «О признании изобретениями объектов вычислительной техники, характеризуемых математическим обеспечением ЭВМ» от 13 ноября 1975 г. № 449, в котором отмечалось, что изобретениями могут быть признаны, в частности, способы, характеризуемые выполнением в определенной последовательности ряда действий над материальными носителями информации с помощью материальных объектов. В Разъяснении прямо исключается возможность выдачи патента в отношении объекта, который представляет из себя математическое решение задачи, в частности, алгоритм или программу для ЭВМ (п. 3 Разъяснения).
Впоследствии А.Б. Гельб и И.Э. Мамиофа в конце 1980-х гг. отмечали, что и зарубежное патентное законодательство, и изобретательское право СССР столкнулись с острыми вопросами о том, могут ли выдаваться патенты на такие объекты:
1) программы для ЭВМ;
2) способы обработки информации в ЭВМ, выраженные в алгоритмах решения вычислительной или логической задачи50.
Советское законодательство того периода отвечало на эти вопросы отрицательно.
В Законе СССР от 31 мая 1991 г. № 2213-1 «Об изобретениях в СССР» было прямо отмечено, что алгоритмы и программы для вычислительных машин не признаются изобретениями51 (п. 3 ст. 1 Закона)52. Впоследствии Патентный закон Российской Федерации от 23 сентября 1992 г. № 3517-1 включил в себя аналогичное положение (в п. 3 ст. 4), но 7 февраля 2003 г. оно было оттуда исключено. Сегодня ч. 4 Гражданского кодекса РФ уже не содержит прямого запрета на защиту компьютерных алгоритмов в качестве изобретений (в отличие от программ для ЭВМ).
3.5. Патентование компьютерных алгоритмов в современной России
Действующее российское патентное законодательство определяет изобретение как такое техническое решение, суть которого заключается в преобразовании объекта техники, способа или объекта природы, с помощью которого можно решить техническую проблему и получить технический результат. Следовательно, изобретения, относящиеся к компьютерно-реализуемому способу, должны не только решать определенную техническую проблему, но и создавать новый технический результат, который был бы вызван изменениями в объекте техники53. При этом программное обеспечение само по себе не может охраняться в качестве изобретения или полезной модели в силу прямого указания закона (п. 5 ст. 1350, п. 5 ст. 1351 ГК РФ). Но, как верно отмечает М.А. Рожкова, если программное обеспечение будет отвечать установленным законом требованиям к изобретениям (полезным моделям), патент может быть выдан на него как на техническое решение54.
Статья 1350 ГК РФ указывает, что в качестве изобретения охраняется техническое решение в любой области, относящееся к продукту или способу, в том числе к применению продукта или способа по определенному назначению. В действующем Приказе Минэкономразвития России от 21 февраля 2023 г. № 107 «О государственной регистрации изобретений» в п. 42 раздела III раскрывается, что к техническим результатам относятся результаты, представляющие собой явление, свойство, а также технический эффект, являющийся следствием явления, свойства, объективно проявляющиеся при осуществлении способа или при изготовлении либо использовании продукта. В Приказе прямо отмечается, что техническими не являются результаты, которые, в частности:
1) достигаются лишь благодаря соблюдению определенного порядка при осуществлении тех или иных видов деятельности на основе договоренности между ее участниками или установленных правил;
2) заключаются только в получении информации и достигаются только благодаря применению математического метода, программы для электронной вычислительной машины или используемого в ней алгоритма.
Таким образом, в соответствии с действующими нормативно-правовыми актами для того чтобы компьютерный алгоритм мог получить охрану в качестве изобретения, необходимо, чтобы его реализация в итоге приводила к преобразованию самого компьютера либо к преобразованию другого материального объекта при осуществлении способа, в котором компьютер выполняет роль материального средства, воздействующего на материальный объект55. Если компьютерный алгоритм патентуется как изобретение, то он должен соответствовать критериям новизны, изобретательского уровня и промышленной применимости (абз. 2 п. 1 ст. 1350 ГК РФ).
О.В. Ревинский отмечает, что программа, введенная в память компьютера, обеспечивает реализацию некоторого способа в соответствии с алгоритмом, а потому может охраняться нормами патентного права в составе этого способа56. Поэтому, чтобы компьютерный алгоритм мог быть запатентован как способ, он должен быть описан через те действия, которые под его управлением выполняет компьютер. Ученый определяет технический результат как непосредственно связанное с техникой свойство, появляющееся и (или) проявляющееся при выполнении технического способа или при изготовлении либо использовании продукта57. Если способ осуществляется внутри компьютера, то техническим результатом может являться, например, ускорение вычислений или снижение потребления электроэнергии58. Также в качестве изобретения может быть заявлен способ, в характеристике которого имеются действия над материальным объектом с помощью материальных средств, а вычислительные (информационные) операции взаимосвязаны с остальными действиями способа и включены в их последовательность59.
Суд по интеллектуальным правам в одном из своих решений отмечал60, что заявка на выдачу патента на изобретение может относиться к алгоритму программы для ЭВМ, изложенному в виде обеспечивающей достижение технического результата последовательности действий над сигналами (материальный объект), осуществляемой с помощью вычислительной техники (материальных средств). В таком случае имеются основания для признания заявленного объекта техническим решением и дальнейшей проверки его патентоспособности. В указанном решении орган подтвердил законность выдачи патента на изобретение «Способ управления соединениями внутри сети подвижной радиотелефонной связи», представляющего собой компьютерный алгоритм, обеспечивающий такой способ взаимодействия абонентских устройств при помощи ПО, в рамках которого реализована возможность одновременно сообщить вызываемому абоненту о попытке вызова, произведенного вызывающим абонентом в условиях недостаточности средств на его счете положительного остатка, а вызывающему абоненту – о состоянии его счета. Таким образом, орган признал, что с помощью данного способа достигается технический результат, и отнес его к категории изобретений, а не программ для ЭВМ.
В практике Роспатента сложились следующие практические подходы к определению технического результата, достигаемого с помощью компьютерно-реализуемых алгоритмов. Так, регулярно патентуются решения, заключающиеся в: 1) изменении параметров видеоизображения или звука, результатом которого становится повышение четкости изображения; 2) кодировании или шифровании информации для ее передачи по каналам связи или хранения; 3) улучшении технических характеристик самого компьютера как технического устройства (например, увеличение скорости обработки данных)61.
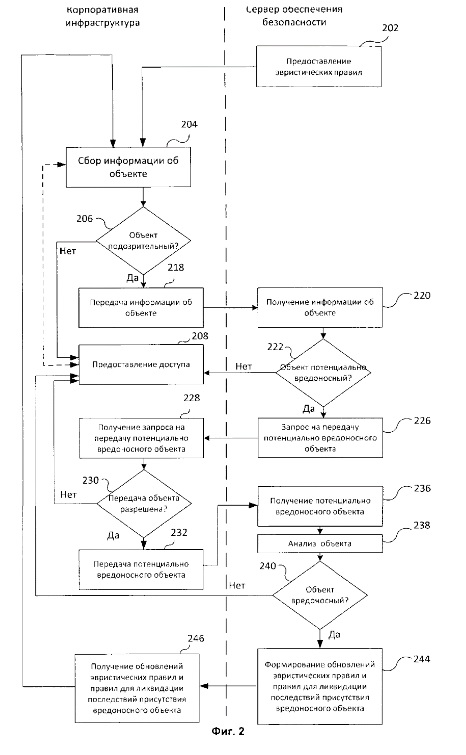
В качестве примера успешно запатентованного в России компьютерно-реализуемого решения можно привести патент на изобретение №2587426C2 «Система и способ обнаружения направленных атак на корпоративную инфраструктуру», патентообладателем которого является Лаборатория Касперского62. Технический результат этого изобретения заключается в повышении безопасности вычислительного устройства. Формула изобретения раскрывает последовательность (алгоритм) действий антивирусной программы, а принцип действия проиллюстрирован в виде блок-схем (Приложение 1). Другой успешный пример: патент на относящееся к вычислительной технике изобретение №2728497 «Способ и система определения принадлежности программного обеспечения по его машинному коду», которое было включено в список «100 лучших изобретений России» за второе полугодие 2020 г.63 Проиллюстрирован он также в виде блок-схем (Приложение 2). Технический результат этого изобретения заключается в обеспечении автоматической идентификации программного обеспечения по последовательности выполняемых им машинных команд.
Чтобы в отношении компьютерного алгоритма был получен необходимый объем правовой охраны, предельно важно правильно сформулировать формулу изобретения. В современном российском законодательстве формула изобретения предназначается для определения объема правовой охраны изобретения, предоставляемой на основании патента (п. 2 ст. 1354 ГК РФ). Ещё А.А. Пиленко в своей работе «Право изобретателя», изданной в 1903 г., отмечал, что «составление правильной патентной формулы сопряжено с громадными трудностями: это – целая наука» и «патентная формула есть центральный нерв всего монопольного правомочия, с которым вместе оно стоит и падает»64. Это утверждение верно и сегодня. Для того чтобы содержание формулы было раскрыто подробно, используется описание изобретения и иллюстрации в виде блок-схем.
А.П. Евсеев следующим образом обобщает рекомендации по составлению патентной заявки, сформулированные по итогам изучения практики Роспатента:
1) в содержании заявки на выдачу патента на изобретение необходимо четко показать причинно-следственную связь между работой компьютерного алгоритма и конкретным материальным техническим результатом;
2) преобразование информации в результате функционирования программы без каких-либо изменений в материальном мире не является техническим результатом;
3) если отсутствует возможность отобразить конкретный технический результат от работы компьютерного алгоритма, то следует прибегнуть к объединению в материалах заявки компьютерного алгоритма с аппаратно-техническим комплексом65.
Таким образом, российская правоприменительная практика сформулировала устойчивые признаки патентоспособного компьютерного алгоритма. Ключевым является то, что в патентной заявке должен быть описан конкретный материальный технический результат, который достигается по итогам использования такого алгоритма. В качестве же абстрактной идеи, не воздействующей на объекты материального мира, компьютерный алгоритм патентоваться не может.
Такая практика представляется правильной, отвечающей требованиям закона и потребностям общества, так как, с одной стороны, через строгую привязку способа к техническому результату (материальному эффекту) компьютерный алгоритм не охраняется в качестве абстрактной идеи, патентование которой может серьезно замедлить человеческое развитие, а с другой стороны, у субъектов хозяйственной деятельности всё равно остаётся возможность оправдать свои вложения в исследование компьютерных алгоритмов.
3.6. Патентование алгоритмов. Общие выводы
Таким образом, возможность патентования компьютерных алгоритмов воспринимается в науке и практике неоднозначно. Проведенное исследование проблемы патентования компьютерных алгоритмов в США и Российской Федерации демонстрирует, насколько важно для развития общества установление сбалансированных требований патентного законодательства. Патентное право должно поощрять инновационную и изобретательскую активность и не должно допускать возникновение чрезмерно обременительных для общества правовых монополий на использование абстрактных идей (к которым относятся и алгоритмы), замедляющих развитие научно-технического прогресса. Так, противники патентования компьютерных алгоритмов опасаются возникновения фирм-монополий на рынке программного обеспечения, получивших огромное количество патентов на самые разные разработки, использование которых другими участниками рынка они будут активно запрещать. Несогласие выражают и защитники открытого ПО, которые стремятся к свободному обмену идей и непрерывному технологическому развитию66. Однако следует учитывать, что зачастую развитие новой компьютерной разработки может быть сопряжено с колоссальными инвестициями в виде денежных средств, времени и человеческого труда. Патентное право позволяет закрепить монопольное право на использование разработки за патентообладателем, что позволяет ему окупить свои инвестиции.
Патентование бизнес-методов тоже находит как сторонников, так и противников. С одной стороны, обладание патентом поможет организации защитить и оправдать свои инвестиции в разработку инновационных подходов к осуществлению хозяйственной деятельности. С другой стороны, в результате патентования различных бизнес-методов может быть существенно ограничена конкуренция между хозяйствующими субъектами.
Не стоит забывать и о рисках, которые несет правопорядку деятельность патентных троллей, вред от деятельности которых может существенно возрасти, если патентование алгоритмов будет слишком свободным. Также следует иметь в виду, что направление патентной заявки подразумевает публичное раскрытие свойств и характеристик изобретения, поэтому после ее подачи с содержанием алгоритма сможет ознакомиться любой желающий, и последующий отказ в выдаче патента повлечет за собой утрату компанией своего преимущества на рынке.
Таким образом, с помощью института патентного права возможно охранять суть (содержание) алгоритма как некоторой абстрактной идеи, которую можно защитить от использования другими лицами.
По мнению автора настоящей работы, в конечном итоге в возможности предоставления такой формы охраны заинтересовано всё общество в целом, так как наличие дополнительных стимулов к исследованию и разработке новых компьютерных и бизнес-алгоритмов будет способствовать общественному и научному развитию. Однако чрезмерно широкие патентные права могут подавлять инновации, налагая серьезные ограничения на возможность использования существующих достижений научно-технического и хозяйственного прогресса. Поэтому в законодательстве и правоприменительной практике очень важно выдержать баланс между абсолютной свободой и полной невозможностью патентования алгоритмов.
Если говорить о сложившейся российской практике, то в отношении патентования компьютерных алгоритмов такой баланс выдерживается через строгую привязку компьютерно-реализуемого способа к техническому результату. Практика же патентования способов ведения бизнеса в России явно нуждается в нахождении единообразного подхода к тому, возможно ли с помощью таких способов достижение технического результата; очевидно, Роспатент не должен давать охрану в качестве изобретений тем бизнес-методам, которые имеют исключительно утилитарный характер и не воздействуют на объекты материального мира.
4. Охрана алгоритмов в качестве секретов производства
Если алгоритм был разработан в целях его использования преимущественно внутри организации, то можно прибегнуть к его охране в качестве секрета производства. Так, в качестве секрета производства (trade secret) охраняется рецепт изготовления напитка Coca-Cola67 или поисковый алгоритм Google68. В Российской Федерации секретом производства (ноу-хау) являются сведения любого характера, имеющие ценность вследствие их неизвестности третьим лицам, которые могут охраняться с использованием или без использования режима коммерческой тайны69. Обладателю ноу-хау принадлежит исключительное право его использования любым законным способом. Так, бизнес-метод может получить охрану в качестве способа осуществления профессиональной деятельности (ст. 1465 ГК РФ). В отношении же компьютерных программ О.В. Ревинский отмечает, что их охрана в качестве секретов производства с практической точки зрения осуществляется в первую очередь благодаря договорам на передачу научно-технической продукции, заключаемым между обладателями конфиденциальной информации и ее получателями, а также путем введения различных мер предотвращения разглашения этой информации теми лицами, которые имеют к ней доступ70. Следовательно, сохраняя в секрете саму программу, остается в тайне и компьютерный алгоритм, лежащий в основе ее функционирования.
Преимущество охраны алгоритмов в качестве секрета производства заключается в том, что охранять их таким образом возможно без ограничений по сроку, а также без необходимости проведения государственной регистрации, что существенно оптимизирует процесс установления защиты. От процедуры патентования охрана в качестве секрета производства выгодно отличается тем, что она возникает мгновенно (а не по итогам рассмотрения заявки), действует бессрочно, может быть установлена в отношении крайне широкого круга сведений и не предполагает раскрытия сведений об объекте охраны для всеобщего доступа.
Тем не менее, у охраны алгоритмов в качестве ноу-хау есть и недостатки. Так, А.А. Пиленко следующим образом критиковал существовавший в Российской Империи институт секретов фабричного производства, аналогичный современному ноу-хау в Российской Федерации: «Так называемые секреты фабричного производства охраняются в одном исключительном случае и русским правом, но в сущности могут быть полезными только крайне редко. Причиной этого являются два обстоятельства: во-первых, не все изобретения могут быть эксплуатируемы в тайне <…> Во-вторых, для многих изобретений охранение секрета сопряжено с такими трудностями, что вызываемые ими расходы не окупают получаемой прибыли»71. В общем и целом это критическое замечание справедливо и в отношении охраны компьютерных и бизнес-алгоритмов в качестве секретов производства: алгоритм может быть забыт, утрачен, раскрыт конкурентами и т.д. К тому же, как указывается в ст. 1467 ГК РФ, с момента утраты конфиденциальности сведений исключительное право на ноу-хау прекратится. Это характеризует его как недостаточно надежный инструмент охраны.
Заключение
Таким образом, настоящее исследование показало, что с помощью авторского права возможно охранять внешнюю форму, в которой выражен алгоритм; с помощью патентного права можно при соблюдении определенных условий защитить саму идею, лежащую в основе алгоритма; в качестве секрета производства можно защитить алгоритм как разработку, использование которой предполагается внутри организации.
1. Самую сильную (и в то же время наиболее сложную в реализации) правовую охрану алгоритмам предоставляет именно патент. Исследование истории развития вопроса о патентовании в США показало, что ключевым аспектом, влияющим на возможность предоставления алгоритмам правовой охраны в качестве способов, является меняющийся подход к содержанию технического результата: обязательно ли он должен быть материальным или достаточно только утилитарного эффекта. Широчайшая свобода в патентовании различных алгоритмов, установленная прецедентом по делу State Street в 1998 г., начала ограничиваться уже через 12 лет. В последние же десятилетия в практике США сложилась тенденция на усложнение критериев патентоспособности для алгоритмов. По мнению автора, такая тенденция является правильной, так как в вопросе патентования алгоритмов произошло смещение от крайних позиций к более сбалансированному подходу, что лучше отвечает интересам общества и назначению патентного права.
2. В современной России в правоприменительной практике сформировались критерии, которые необходимы для успешного получения патента на компьютерный алгоритм, что следует воспринимать позитивно. В отношении же бизнес-методов такие критерии ещё не устоялись, что угрожает не только свободе распространения идей, но и конституционному принципу правовой определенности. При решении вопроса о патентовании бизнес-методов Роспатенту следует стремиться не только к достижению единообразного толкования положений законодательства об изобретениях (в частности, определить, возможно ли с помощью бизнес-метода достижение технического результата), но и найти баланс между интересами общества и предпринимателей. Бизнес-метод, который не оказывает никакого материального эффекта, не должен получать охрану в качестве изобретения. Здесь будет справедливым замечание ВС США о том, что на «строительные блоки человеческой изобретательности» не должна выдаваться правовая монополия, чтобы не препятствовать свободному распространению знаний и идей.
3. Прибегать к авторско-правовой охране алгоритма целесообразно только в том случае, когда конкретное объективированное выражение алгоритма в виде текста или программного кода важнее его идеи (логической структуры). Несомненным преимуществом авторского права является моментальность его возникновения.
4. Защищать алгоритм как секрет производства следует в первую очередь тогда, когда он является внутренней разработкой и направлен на его использование преимущественно внутри организации. Однако такой способ охраны может оказаться неподходящим, если будет затруднительно сохранять содержание алгоритма в тайне.
Приложения
ПРИЛОЖЕНИЕ 1. Схема алгоритма работы одного из вариантов реализации системы обнаружения направленных атак на корпоративную инфраструктуру
 
 
ПРИЛОЖЕНИЕ 2. Иллюстрация накопления данных для обучения классификатора, используемого для определения принадлежности программного обеспечения к определенному семейству программ по его машинному коду

1 Автор статьи благодарит В.В. Архипова и Р.А. Ахобекову за ценные критические замечания, которые были высказаны при подготовке настоящей работы.
2 Алгоритм. Википедия [Электронный ресурс]. URL: https://ru.wikipedia.org/wiki/Алгоритм (дата обращения: 20 января 2024 г.).
3 ГОСТ Р 43.2.9-2019. Национальный стандарт Российской Федерации. Информационное обеспечение техники и операторской деятельности. Язык операторской деятельности. Алгоритмизированное изложение сведений в технической интегрально-лингвосемантизированной информации (утв. и введен в действие Приказом Росстандарта от 30 июля 2019 г. № 430-ст).
4 Мамиофа И.Э. О правовом регулировании отношений по созданию и использованию алгоритмов АСУ // Известия высших учебных заведений. Правоведение. 1975. № 5. С. 112.
5 Ответы на часто задаваемые вопросы, касающиеся патентования изобретений и полезных моделей. Официальный сайт ФИПС [Электронный ресурс]. URL: https://fips.ru/to-applicants/inventions/otvety-na-chasto-zadavaemye-voprosy-kasayushchiesya-patentovaniya-izobreteniy-i-poleznykh-modeley.php?ysclid=lqwhu9amyc84848374 (дата обращения: 18 января 2024 г.).
6 Ревинский О.В. Современный подход к правовой охране компьютерного программного обеспечения // Российский химический журнал. 2000. № 5. С. 50.
7 См., например: Савельев А.И. отмечает: «В отсутствие патента конкуренты смогут, проанализировав такой алгоритм, выразить по-иному идеи и принципы, заложенные в нем, избежав обвинений в нарушении авторских прав его первоначального создателя. Разумеется, поскольку ресурсов и времени на такую «разработку» было затрачено существенно меньше, цена альтернативного программного продукта будет ниже, что делает первоначальный инновационный продукт неконкурентоспособным». См.: Лицензирование программного обеспечения в России: законодательство и практика / А.И. Савельев. М.: Инфотропик Медиа, 2012. С. 69.
8 См.: пункт 1.8 Обзора практики Суда по интеллектуальным правам по вопросам, возникающим при применении норм Гражданского кодекса Российской Федерации о правовой охране программ для ЭВМ и баз данных от 18 ноября 2021 г. № СП-21/26.
9 Мамиофа И.Э. Право и программирование // Ученые записки Тартуского государственного университета. 801 выпуск. Правовые проблемы программирования вычислительной техники и изобретательства. Труды по социальным проблемам кибернетики. Тарту: Тартуский государственный университет, 1988. С. 14-15.
10 См.: определение Судебной коллегии по экономическим спорам Верховного Суда Российской Федерации от 17 снтября 2020 г. № 305-ЭС20-8198 по делу № А40-46622/2019.
11 Для исследования был выбран правопорядок США по причине того, что проблема патентования алгоритмов там имеет давнюю историю и хорошо проработана.
12 U.S.Code: Title 35. § 101 – Inventions patentable. Cornell Law School [Электронный ресурс]. URL: https://www.law.cornell.edu/uscode/text/35/101 (дата обращения: 18 января 2024 г.).
13 Афанасьев Д. О соотношении изобретений, открытий и абстрактных идей // Интеллектуальная собственность. Промышленная собственность. 2019. № 1. С. 17.
14 Hotel Security Checking Co. v. Lorraine Co., 160 F. 467 (1908). Caselaw Acess Project [Электронный ресурс]. URL: https://cite.case.law/f/160/467/ (дата обращения: 18 января 2024 г.).
15 Цитата из решения суда: «Указанный патент, по мнению суда, охватывает просто систему бухгалтерского учета, применимую к условиям, существующим в гостиницах и ресторанах. Фундаментальный принцип работы предложенной системы так же стар, как и искусство бухгалтерского учета, а именно: отнесение товаров работодателя на счет агента, который их принимает. Патентообладатель изменил и приспособил ее к своему бизнесу, но для этого ему не потребовалось проявлять изобретательские способности».
16 State Street Bank & Trust Co. v. Signature Financial Group, Inc., 149 F.3d 1368 (Fed. Cir. 1998). JUSTIA US Law [Электронный ресурс]. URL: https://law.justia.com/cases/federal/appellate-courts/F3/149/1368/560460/ (дата обращения: 18 января 2024 г.).
17 Цитата из решения суда: «Суд утверждает, что преобразование устройством данных, представляющих собой дискретные суммы в долларах, путем серии математических вычислений в окончательную цену акций представляет собой практическое применение математического алгоритма, формулы или расчета, поскольку дает полезный, конкретный и осязаемый результат (выделено мною – М.Ч.) – окончательную цену акций, которая на мгновение фиксируется для целей учета и отчетности и даже принимается и полагается регулирующими органами и при последующих сделках».
18 Патент на изобретение US5193056A «Система обработки данных для конфигурации финансовых услуг». Google Patents [Электронный ресурс]. URL: https://patents.google.com/patent/US5193056A/en?oq=US5193056 (дата обращения: 18 января 2024 г.).
19 Патент на изобретение US6368227B1 «Способ раскачивания на качелях». Google Patents [Электронный ресурс]. URL: https://patents.google.com/patent/US6368227B1/en?oq=US6368227 (дата обращения: 18 января 2024 г.)
20 Патент на изобретение US5443036A «Метод тренировки кошки». Google Patents [Электронный ресурс]. URL: https://patents.google.com/patent/US5443036A/en?oq=US5443036 (дата обращения: 18 января 2024 г.).
21 Datzov Nikola. The Machine-or-Transformation Patentability Test: The Reinvention of Innovation (October 6, 2010). Hamline Law Review, Vol. 33, p. 325 (2010).
22 Bilski v. Kappos, 561 U.S. 593 (2010). Caselaw access project [Электронный ресурс]. URL: https://cite.case.law/us/561/593/3644410/ (дата обращения: 18 января 2024 г.).
23 Суть теста «устройство-или-трансформация» (machine-or-transformation) заключается в том, что для определения, является ли метод (способ, процесс) патентоспособным, необходимо наличие одного из двух следующих условий: 1) метод непосредственно связан с функционированием конкретного аппарата или устройства; 2) метод заключается в преобразовании одного материального объекта в другой. Один из первых случаев применения данного теста Верховным Судом США случился в 1972 г. в деле Gottschalk v. Benson.
24 Темурзиев Р.Б. Нужна ли российскому праву интеллектуальной собственности патентно-правовая охрана компьютерных программ? (работа, заслужившая специальное поощрение в рамках конкурса IP&IT LAW – 2018) // E-commerce и взаимосвязанные области (правовое регулирование). 2019. С. 294-295.
25 Ревинский О.В. Право промышленной собственности. Курс лекций. 2-е изд. М.: Юрсервитум, 2018. С. 316.
26 Alice Corp. v. CLS Bank Int’l, 573 U.S. 208 (2014). JUSTIA. U.S. Supreme Court [Электронный ресурс]. URL: https://supreme.justia.com/cases/federal/us/573/208/ (дата обращения: 18 января 2024 г.).
27 Патент на изобретение US6912510B1 «Способы обмена обязательствами». Google Patents [Электронный ресурс]. URL: https://patents.google.com/patent/US6912510 (дата обращения: 18 января 2024 г.).
28 Патентование способа как объекта изобретения: вопросы теории, правоприменительной практики и совершенствования законодательства. У.С. Цилюрик. Журнал Суда по интеллектуальным правам [Электронный ресурс]. URL: http://ipcmagazine.ru/patent-law/patenting-a-method-as-an-object-of-invention (дата обращения: 18 января 2024 г.).
29 См.: Заключение Палаты по патентным спорам от 19 октября 2015 г. об отказе в выдаче патента на изобретение (Приложение к решению Роспатента от 30 декабря 2015 г. по заявке № 2013123267/12).
30 Патент на изобретение RU 2 677 527 C1 «Способ обучения плаванию». Яндекс Патенты. URL: https://yandex.ru/patents/doc/RU2677527C1_20190117 (дата обращения: 18 января 2024 г.).
31 Патент на изобретение RU 2 212 706 C2 «Способ оценки финансовых рисков». Яндекс Патенты [Электронный ресурс]. URL: https://yandex.ru/patents/doc/RU2212706C2_20030920 (дата обращения: 18 января 2024 г.).
32 Патент на изобретение RU 2 222 835 C1 «Способ рекламирования» [Электронный ресурс]. URL: https://yandex.ru/patents/doc/RU2222835C1_20040127 (дата обращения: 18 января 2024 г.).
33 См.: Заключение Палаты по патентным спорам от 12 сентября 2016 г. об отказе в выдаче патента на изобретение (Приложение к решению Роспатента от 10 ноября 2016 г. по заявке № 2013131832/08).
34 Как указывал Конституционный Суд РФ в Постановлениях от 11 ноября 2003 г. № 16-П и от 21 января 2010 г. № 1-П, неопределенность содержания правовых норм влечет неоднозначное их понимание и, следовательно, неоднозначное применение, создает возможность неограниченного усмотрения в процессе правоприменения и ведет к произволу.
35 Gottschalk v. Benson, 409 U.S. 63, 34 L. Ed. 2d 273, 93 S. Ct. 253 (1972). Caselaw Access Project [Электронный ресурс]. URL: https://cite.case.law/us/409/63/ (дата обращения: 18 января 2024 г.).
36 Parker v. Flook, 437 U.S. 584, 57 L. Ed. 2d 451, 98 S. Ct. 2522 (1978). Caselaw Access Project [Электронный ресурс]. URL: https://cite.case.law/us/437/584/ (дата обращения: 18 января 2024 г.).
37 Темурзиев Р.Б. Указ соч. С. 294.
38 Diamond v. Diehr, 450 U.S. 175, 67 L. Ed. 2d 155, 101 S. Ct. 1048 (1981). Caselaw Access Project [Электронный ресурс]. URL: https://cite.case.law/us/450/175/ (дата обращения: 18 января 2024 г.).
39 Патент на изобретение US4344142A «Прямое цифровое управление прессами для формования резины». Google Patents [Электронный ресурс]. URL: https://patents.google.com/patent/US4344142A/en?oq=US4344142 (дата обращения: 18 января 2024 г.).
40 Fuller III R.A. Algorithm patentability after Diamond v. Diehr // Indiana Law Review 1982. Vol. 15, № 3 P. 732.
41 Так, компьютерная программа может пройти этот тест и получить патентную охрану в качестве устройства или способа, если она будет использоваться в связке с компьютером или иным программируемым устройством.
42 Савельев А.И. М.: Инфотропик Медиа, 2012. С. 83.
43 How to Patent Software: A Complete Guide (2023). Chhabra Law Firm’s Blog [Электронный ресурс]. URL: https://www.clfip.com/ip/blog/how-to-patent-software/#Can-Software-Be-Patented (дата обращения: 18 января 2024 г.).
44 В официальной статистике Ведомства по патентам и товарным знакам США показано, что к 2015 г. (то есть всего через год после вынесения решения по делу Alice) у большинства крупных патентообладателей либо сильно уменьшилось, либо осталось без изменений количество выданных патентов на изобретения, относящихся к разработке, установке и управлению программным обеспечением (обработкой данных). См.: Count of 1969-2015 Utility Patent Grants, By Calendar Year of Grant With Patent Counts Based on Primary Patent Classification. Class 717, DP: Software Development, Installation, and Management (Data Processing). U.S. PATENT AND TRADEMARK OFFICE [Электронный ресурс]. URL: https://www.uspto.gov/web/offices/ac/ido/oeip/taf/tecasga/717_torg.htm (дата обращения: 18 января 2024 г.).
45 Patenting software and beyond: a guide to understanding Alice and its impact. Henry Patent Law Firm [Электронный ресурс]. URL: https://henry.law/blog/understanding-alice/ (дата обращения: 18 января 2024 г.).
46 Специалисты А.Б. Гельб и И.Э. Мамиофа возражали против указанного положения советского законодательства о том, что изобретением может быть только техническое решение: «Напомним, что изобретение – это тоже не машина и не технологический процесс (т.е. не устройство и не способ), а лишь предписание, что надо сделать и как надо делать, чтобы в результате использования этого предписания (изобретения) получить реальную машину или в натуре осуществить способ, технологический процесс. Алгоритм находится в таком же отношении к реальному процессу переработки входных данных в результат на выходе ЭВМ, в каком формула технического изобретения – к реализации изобретенного способа в технологическом процессе. Поэтому следует признать, что правовой охране в качестве изобретений принадлежат новые и неочевидные способы обработки информации в ЭВМ, выраженные в алгоритме (выделено мною – М.Ч.) решения утилитарной задачи, когда и поскольку этот способ осуществляется промышленным путем». См.: Гельб А.Б., Мамиофа И.Э. Правовые проблемы охраны в СССР изобретений-алгоритмов, относящихся к программному управлению устройствами вычислительной техники и технологическими процессами // Ученые записки Тартуского государственного университета. 864 выпуск. Социальные и правовые вопросы развития вычислительной техники и научно-технического творчества. Труды по социальным проблемам кибернетики. Тарту: Тартуский государственный университет, 1989. С. 118-120.
47 Попова И.В. Программное обеспечение ЭВМ как объект авторского права. 1997. Электронная библиотека Белорусского государственного университета [Электронный ресурс]. URL: https://elib.bsu.by/handle/123456789/29922 (дата обращения: 18 января 2024 г.).
48 Мамиофа И.Э. О правовом регулировании отношений по созданию и использованию алгоритмов АСУ. С. 113.
49 Алексеева О.Л. Ретроспективный обзор российских нормативных актов и методических документов в области патентования IT-решений // Вестник ФИПС. 2022. Т. 1, № 2. С. 25.
50 Гельб А.Б., Мамиофа И.Э. Правовые проблемы охраны в СССР изобретений-алгоритмов, относящихся к программному управлению устройствами вычислительной техники и технологическими процессами // Ученые записки Тартуского государственного университета. 864 выпуск. Социальные и правовые вопросы развития вычислительной техники и научно-технического творчества. Труды по социальным проблемам кибернетики. Тарту: Тартуский государственный университет, 1989. С. 113.
51 Мамиофа И.Э. крайне критически отнесся к этому факту, когда проанализировал текст проекта отмеченного закона: «Порочной концепцией проекта является отказ от патентования нетехнических решений (например, математических или экономико-математических решений технических и производственных проблем), в особенности – алгоритмов для ЭВМ (выделено мною – М.Ч.), т.е. новых способов автоматизированной обработки информации. <…> Между тем, таким изобретениям принадлежит решающая роль в обеспечении перехода общества к высокой степени его компьютеризации». См. Мамиофа И.Э. Критический анализ проекта закона об изобретательстве в СССР // Ученые записки Тартуского государственного университета. 864 выпуск. Социальные и правовые вопросы развития вычислительной техники и научно-технического творчества. Труды по социальным проблемам кибернетики. Тарту: Тартуский государственный университет, 1989. С. 167.
52 Закон СССР от 31 мая 1991 г. № 2213-I «Об изобретениях в СССР», опубл. в Ведомостях Съезда народных депутатов СССР и Верховного Совета СССР, 1991 г., № 25, ст. 703.
53 Алексеева О.Л., Зайцев Ю.С. Проблемные вопросы права и методологии патентования IT-технологий и предложения по их разрешению // Интеллектуальная собственность как базовое условие обеспечения технологического суверенитета Российской Федерации. 2022. С. 16.
54 Цивилистическая концепция интеллектуальной собственности в системе российского права. Монография. / По общей ред. М.А. Рожковой. М.: Статут, 2018.
55 Алексеева О.Л., Зайцев Ю.С. Компьютерные изобретения: развитие методологии патентования // Патенты и лицензии. Интеллектуальные права. 2023. № 2. С. 15.
56 Ревинский О.В. Право промышленной собственности. С. 318.
57 Ревинский О.В. Технический результат: в поисках дефиниции // Патенты и лицензии. Интеллектуальные права. 2020. № 3. С. 14-18.
58 Ревинский О.В. Возможности патентной охраны новшеств (на примере компьютерных программ) // Вестник Северо-Восточного федерального университета имени М.К. Аммосова. Серия «История. Политология. Право». 2021. № 3. С. 20.
59 См.: Ревинский О.В. Право промышленной собственности. С. 320.
60 См.: решение Суда по интеллектуальным правам от 8 июня 2018 г. по делу № СИП-789/2016.
61 Алексеева О.Л., Зайцев Ю.С. Проблемные вопросы права и методологии патентования IT-технологий и предложения по их разрешению. С. 16.
62 Патент на изобретение RU 2 587 426 C2 «Система и способ обнаружения направленных атак на корпоративную инфраструктуру». Яндекс Патенты [Электронный ресурс]. URL: https://yandex.ru/patents/doc/RU2587426C2_20160620 (дата обращения: 18 января 2024 г.).
63 Перечень изобретений, получивших правовую охрану и включенных в базу победителей номинации Роспатента «100 лучших изобретений России» за второе полугодие 2020 года [Электронный ресурс]. URL: https://rospatent.gov.ru/content/uploadfiles/100-best-2p-2020.pdf (дата обращения: 18 января 2024 г.).
64 Пиленко А.А. Право изобретателя. Тома I-II. М.: издательство М. М. Стасюлевича, 1902-1903 гг. § 135. Охранительное свидетельство: выдача его // СПС «Гарант».
65 Проблемы регистрации патента на ПО: судебная практика и рекомендации. Экономика и жизнь [Электронный ресурс]. URL: https://www.eg-online.ru/article/466250/ (дата обращения: 18 января 2024 г.).
66 Темурзиев Р.Б. Указ. соч. С. 298.
67 Arkansas Tech University [Электронный ресурс]. URL: https://www.atu.edu/asbtdc/docs/Patents-and-Trade-Secrets.pdf (дата обращения: 30 января 2024 г.).
68 Protecting algorithms as trade secrets. Time for change? Legal Compass The Journal [Электронный ресурс]. URL: https://www.thelegalcompass.co.uk/post/protecting-algorithms-as-trade-secrets-time-for-change (дата обращения: 30 января 2024 г.).
69 Верховный Суд РФ в п. 144 Постановления Пленума от 23 апреля 2019 г. № 10 напомнил, что в силу закона сохранение конфиденциальности сведений именно путем введения режима коммерческой тайны не является обязательным.
70 Ревинский О.В. Компьютерное программное обеспечение в составе имущества фирмы // Имущественные отношения в Российской Федерации. 2010. № 2. С. 31.
71 Пиленко А.А. Право изобретателя. Тома I-II. М.: издательство М.М. Стасюлевича, 1902-1903 гг. § 7. Различные юридические институты, которые предлагаемы были // СПС «Гарант».
Алексеева О.Л. Компьютерные изобретения: развитие методологии патентования / О.Л. Алексеева, Ю.С. Зайцев // Патенты и лицензии. Интеллектуальные права. 2023. № 2. С. 14-25.
Алексеева О.Л. Проблемные вопросы права и методологии патентования IT-технологий и предложения по их разрешению / О.Л. Алексеева, Ю.С. Зайцев // Интеллектуальная собственность как базовое условие обеспечения технологического суверенитета Российской Федерации: Сборник докладов XXVI Международной научно-практической конференции Роспатента, Москва, 29 сентября 2022 года / Вып. редактор Е.Г. Царёва. М.: Федеральное государственное бюджетное учреждение «Федеральный институт промышленной собственности», 2022. С. 15-18.
Алексеева О.Л. Ретроспективный обзор российских нормативных актов и методических документов в области патентования IT-решений / О.Л. Алексеева, Ю.С. Зайцев // Вестник ФИПС. 2022. Т. 1, № 2. С. 23-31.
Афанасьев Д. О соотношении изобретений, открытий и абстрактных идей / Д. Афанасьев // Интеллектуальная собственность. Промышленная собственность. 2019. № 1. С. 13-20.
Гельб А.Б., Мамиофа И.Э. Правовые проблемы охраны в СССР изобретений-алгоритмов, относящихся к программному управлению устройствами вычислительной техники и технологическими процессами / А.Б. Гельб, И.Э. Мамиофа // Ученые записки Тартуского государственного университета. 864 выпуск. Социальные и правовые вопросы развития вычислительной техники и научно-технического творчества. Труды по социальным проблемам кибернетики. Тарту: Тартуский государственный университет, 1989. С. 112-126.
Лицензирование программного обеспечения в России : законодательство и практика / А.И. Савельев. М.: Инфотропик Медиа, 2012. 432 с.
Мамиофа И.Э. Критический анализ проекта закона об изобретательстве в СССР / И.Э. Мамиофа // Ученые записки Тартуского государственного университета. 864 выпуск. Социальные и правовые вопросы развития вычислительной техники и научно-технического творчества. Труды по социальным проблемам кибернетики. Тарту: Тартуский государственный университет, 1989. С. 154-168.
Мамиофа И.Э. О правовом регулировании отношений по созданию и использованию алгоритмов АСУ / И.Э. Мамиофа // Известия высших учебных заведений. Правоведение. 1975. № 5. С. 110-119.
Мамиофа И.Э. Право и программирование / И.Э. Мамиофа // Ученые записки Тартуского государственного университета. 801 выпуск. Правовые проблемы программирования вычислительной техники и изобретательства. Труды по социальным проблемам кибернетики. Тарту: Тартуский государственный университет, 1988. С. 5-16.
Патентование способа как объекта изобретения: вопросы теории, правоприменительной практики и совершенствования законодательства. У.С. Цилюрик. Журнал Суда по интеллектуальным правам [Электронный ресурс]. URL: http://ipcmagazine.ru/patent-law/patenting-a-method-as-an-object-of-invention (дата обращения: 18 января 2024 г.).
Пиленко А.А. Право изобретателя. Тома I-II. М.: издательство М.М. Стасюлевича, 1902-1903 гг. // СПС «Гарант».
Попова И.В. Программное обеспечение ЭВМ как объект авторского права. 1997. Электронная библиотека Белорусского государственного университета [Электронный ресурс]. URL: https://elib.bsu.by/handle/123456789/29922 (дата обращения: 18 января 2024 г.).
Ревинский О.В. Право промышленной собственности. Курс лекций. 2 изд. М.: Юрсервитум, 2018. 431 с.
Ревинский О.В. Возможности патентной охраны новшеств (на примере компьютерных программ) / О.В. Ревинский // Вестник северо-восточного федерального университета им. М.К. Аммосова. Серия: История. Политология. Право. 2021. № 3. С. 17-21.
Ревинский О.В. Компьютерное программное обеспечение в составе имущества фирмы / О. В. Ревинский // Имущественные отношения в Российской Федерации. 2010. № 2. С. 28-36.
Ревинский О.В. Современный подход к правовой охране компьютерного программного обеспечения / О.В. Ревинский // Российский химический журнал. 2000. № 5. С. 49-56.
Ревинский О.В. Технический результат: в поисках дефиниции / О.В. Ревинский // Патенты и лицензии. Интеллектуальные права. 2020. № 3. С. 14-18.
Темурзиев Р.Б. Нужна ли российскому праву интеллектуальной собственности патентно-правовая охрана компьютерных программ? (работа, заслужившая специальное поощрение в рамках конкурса IP&IT Law – 2018) / Р.Б. Темурзиев // E-commerce и взаимосвязанные области (правовое регулирование): Сборник статей / Руководитель авторского коллектива и отв. редактор М.А. Рожкова. М.: Статут, 2019. С. 289-305.
Цивилистическая концепция интеллектуальной собственности в системе российского права. Монография / По общей ред. М.А. Рожковой. М.: Статут, 2018. 271 с.
Datzov Nikola. The Machine-or-Transformation Patentability Test: The Reinvention of Innovation (October 6, 2010). Hamline Law Review, Vol. 33, p. 281-325 (2010).
Fuller III R.A. Algorithm patentability after Diamond v. Diehr // Indiana Law Review 1982. Vol. 15, № 3 P. 713-732.